HITACHI CORPORATION
GF-1050
|
Device Type |
Internal DVD-ROM |
|
Interface |
SCSI-2 |
|
Spin Rate (Read/Write) |
8x |
|
Formats Supported Read |
CD-XA, CD-DA, CD-R, CD-I, CD-ROM (Mode 1 & Mode 2), DVD-ROM, CD-RW |
|
Formats Supported Write |
CD-XA, CD-DA, CD-R, CD-I, CD-ROM (Mode 1 & Mode 2), DVD-ROM, CD-RW |
|
View |
Top |
|
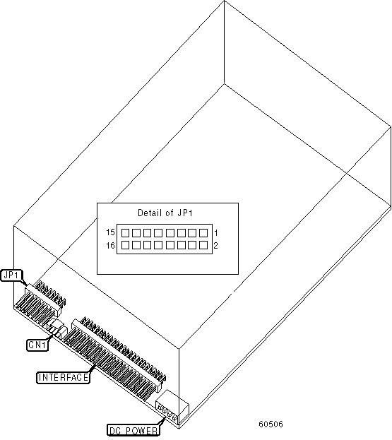
CONNECTIONS | |
|
Function |
Label |
|
Audio line out |
CN1 |
|
USER CONFIGURABLE SETTINGS | ||
|
Setting |
JP1 | |
| » |
Termination enabled |
Pins 1 & 2 closed |
|
Termination disabled |
Pins 1 & 2 open | |
| » |
External termination power enabled |
Pins 3 & 4 closed |
|
External termination power disabled |
Pins 3 & 4 open | |
| » |
Internal termination power enabled |
Pins 5 & 6 closed |
|
Internal termination power disabled |
Pins 5 & 6 open | |
| » |
Write verify disabled |
Pins 7 & 8 closed |
|
Write verify enabled |
Pins 7 & 8 open | |
| » |
Write cache enabled |
Pins 9 & 10 closed |
|
Write cache disabled |
Pins 9 & 10 open | |
|
SCSI ID SELECTION | |
|
Drive ID |
JP1 |
|
0 |
Pins 11 & 12 closed |
|
1 |
Pins 13 & 14 closed |
|
2 |
Pins 15 & 16 closed |