PLEXTOR

PX-R820TE EXTERNAL

Device Type

External CD-ROM

Interface

SCSI (2)

Spin Rate (Read/Write)

20x/8x

Formats Supported Read

CD-XA, CD-DA, CD-R, CD-I, CD-ROM (Mode 1 & Mode 2), Photo-CD, CD-Plus, CD-E, CD+G, CD-MIDI

Formats Supported Write

CD-XA, CD-DA, CD-R, CD-I, CD-ROM (Mode 1 & Mode 2), Photo-CD, CD-Plus, CD-E, CD+G, CD-MIDI

View

Top

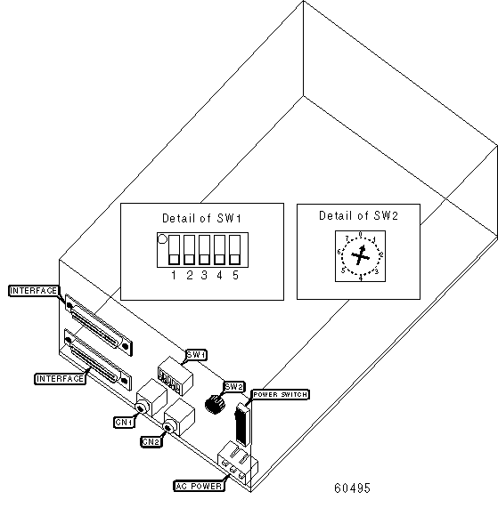
CONNECTIONS

Function

Label

Function

Label

Audio line out - right

CN1

Audio line out - left

CN2

USER CONFIGURABLE SETTINGS

Setting

Label

Position

»

Parity check enabled

SW1/1

On

 

Parity check disabled

SW1/1

Off

»

Termination enabled

SW1/2

On

 

Termination disabled

SW1/2

Off

»

Factory configured - do not alter

SW1/3

Off

»

Block disabled

SW1/4

Off

 

Block enabled

SW1/4

On

»

Factory configured - do not alter

SW1/5

Off

USER CONFIGURABLE SETTINGS

Note: To select the SCSI ID, rotate SW2 to the desired ID number or letter.